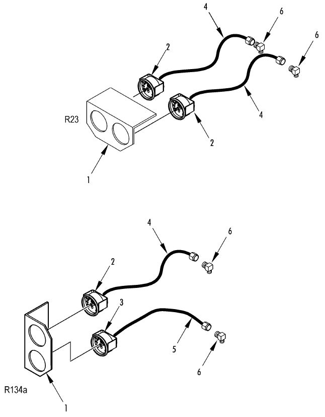
| REF | PART NO. | DESCRIPTION | QTY |
| 1 | 91-8637 | BRACKET – gauge | 2 |
| 1 | 51-1442 | SCREW – bracket | 4 |
| 1 | 51-1464 | FLATWASHER | 4 |
| 1 | 55-9054 | WASHER – insulator | 4 |
| 2 | 66-9890 | GAUGE – pressure (R134a & R23, 400 psi) | 3 |
| 3 | 506-413 | GAUGE – pressure (R134a only, 150 psi) | 1 |
| 3 | 33-3212 | GASKET – gauge | 4 |
| 3 | 55-8382 | SCREW – gauge | 6 |
| 3 | 55-7830 | FLATWASHER | 6 |
| 3 | 55-9086 | WASHER – insulator | 6 |
| 3 | 55-7864 | NUT | 12 |
| 4 | 61-154 | TUBE – gauge (R134a & R23) | 3 |
| 5 | 61-5352 | TUBE – gauge (R134a only) | 1 |
| 6 | 55-9615 | ELBOW | 4 |
235E8
247D3
247D4
172H0We are committed to excellence in customer satisfaction.
© 2024 TK Reefer. All rights reserved.