| REF | PART NO. | DESCRIPTION | QTY |
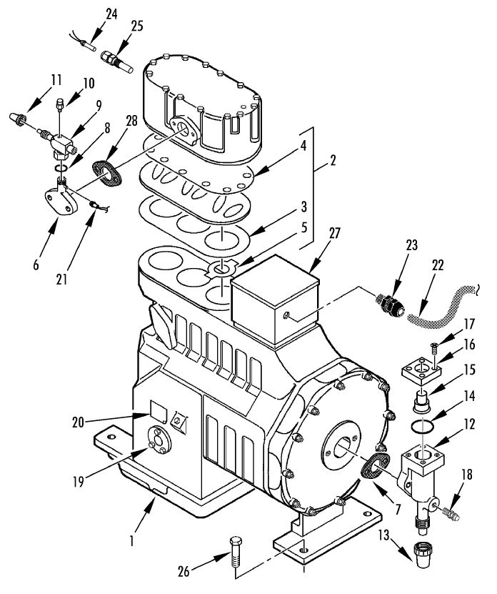
| 1 | 8102-743 | COMPRESSOR (3DST, CRR 40 & DF, see note) | 0 |
| 2 | 22-1051 | *KIT – valve plate | 0 |
| 2 | 22-1132 | KIT – valve plate (Delta Reed) | 0 |
| 3 | 33-2510 | **GASKET – valve plate | 0 |
| 3 | 33-3513 | GASKET – valve plate (Delta Reed) | 0 |
| 4 | 33-2218 | **GASKET – cylinder head | 0 |
| 5 | 502-240 | **KIT – reed suction (non Delta Reed only) | 0 |
| 5 | 20-3516 | OIL – compressor | 0 |
| 6 | 22-1186 | ADAPTER – discharge | 0 |
| 6 | 55-2747 | SCREW – adapter | 0 |
| 6 | 55-2159 | LOCKWASHER | 0 |
| 6 | 55-2173 | FLATWASHER | 0 |
| 7 | 33-3175 | GASKET – discharge & suction | 0 |
| 8 | 33-981 | GASKET – valve | 0 |
| 9 | 66-9377 | VALVE – discharge | 0 |
| 10 | 66-6610 | ADAPTER – service (discharge) | 0 |
| 10 | 66-7182 | *CAP – adapter (red) | 0 |
| 11 | 506-162 | CAP – discharge valve | 0 |
| 12 | 66-9149 | VALVE – suction | 0 |
| 12 | 61-2230 | VALVE – suction (800E) | 0 |
| 13 | 66-3015 | CAP – suction valve | 0 |
| 14 | 503-230 | GASKET – suction | 0 |
| 15 | 66-1845 | COUPLING 1 | 0 |
| 16 | 66-2457 | COLLAR | 0 |
| 17 | 55-3490 | SCREW – collar | 0 |
| 18 | 66-6607 | FITTING – service (lowside) | 0 |
| 18 | 66-7183 | *CAP – fitting | 0 |
| 19 | 22-398 | SIGHT GLASS – oil | 0 |
| 19 | 33-2223 | GASKET – sight glass | 0 |
| 20 | 509-1153 | LABEL – compressor oil | 0 |
| 21 | 41-3250 | SWITCH – hpco | 0 |
| 22 | 414015 | CABLE – compressor power | 0 |
| 23 | 55-5257 | FITTING – harness | 0 |
| 24 | 41-4300 | PROBE – high temperature | 0 |
| 25 | 22-1161 | POCKET – sensor | 0 |
| 26 | 55-9037 | SCREW – compressor (50 mm) | 0 |
| 26 | 55-7360 | FLATWASHER | 0 |
| 26 | 55-5025 | NUT | 0 |
| 27 | 92-1682 | BOX – junction (plastic, Maersk only) | 0 |
| 28 | 33-3175 | GASKET – discharge (rubberized) | 0 |
247D5
172H8
189C4We are committed to excellence in customer satisfaction.
© 2024 TK Reefer. All rights reserved.